Skip to content
Search
Home
Parts
All Categories
Suspension
Coilovers
Lift Kits
Suspension Packages
Shocks and Struts
Control Arms
Ball Joints
Bushing Kits
Sway Bars
Fuel
Fuel Systems
Flex Fuel Kit
Fuel Pumps
Fuel Rails
Fuel Lines
Fuel Filters
Fuel Injector Sets - 4Cyl
Fuel Injector Sets - 6Cyl
Fuel Injector Sets - 8Cyl
Fuel Tanks
Surge Tanks
Engine
Piston Sets - Forged - 4cyl
Piston Sets - Forged - 6cyl
Piston Sets - Forged - 8cyl
Connecting Rods
Air Intake Systems
Intake Manifolds
Camshafts
Camshaft & Lifter Kits
Valves
Valve Springs, Retainers
Headers & Manifolds
Crankshafts
Drivetrain
Axles
Clutch Kits - Single
Clutch Kits - Multi
Driveshafts
Torque Converters
Transmission Rebuild Kits
Exhaust
Exhaust, Mufflers & Tips
Axle Back
Catback
Powersports Exhausts
Exhaust Gaskets
Brakes
Brakes, Rotors & Pads
Big Brake Kits
Brake Line Kits
Cooling
Radiators
Fans & Shrouds
Coolant
Coolant Reservoirs
Transmission Coolers
Fabrication
Aluminum Tubing
X Pipes
Forced Induction
Turbo Kits
Turbochargers
Supercharger Kits
Blow Off Valves
Wastegates
Nitrous Systems
Lighting
Headlights
Tail Lights
Light Bars & Pods
Tailgate Lights
Diesel
Connecting Rods - Diesel
Piston Sets - Diesel
Fuel Injectors - Diesel
Fluids
Motor Oil
Oil Filters
Coolants
Power Steering Fluids
Gear Oil
Brake Fluid
Wheels
Forged
Cast
Wheel Spacers & Adapters
Wheel and Tire Accessories
Wiring
Wiring Harnesses
Wiring Connectors
Light Accessories and Wiring
Body
Body Armor & Protection
Bumpers
Door Panels
Spoilers
Mirrors
Carbon Accessories
Brands
ACL
ACT
AEM
AEM Induction
Aeromotive
Agency Power
Airaid
Akrapovic
AMS
ANZO
ARP
ATI
ATP
Auto-Tech Interiors
AutoMeter
AVO
AWE Tuning
BBK
BBS
BD Diesel
Bilstein
BLOX Racing
BorgWarner
Borla
Bosch
Brian Crower
COMP Cams
CORSA Performance
Cosmis
CP Pistons
CSF
Cusco
DBA
Defi
DEI
Diamond Eye Performance
Driveshaft Shop
Eagle
EBC
Edelbrock
Eibach
Energy Suspension
Enkei
Exedy
Exergy
FAST
FOX
Fidanza
Fleece Performance
Fluidampr
Ferrea
Ford Racing
G-Sport
Garrett
Gates
Gibson
Go Fast Bits
GReddy
GSC Power Division
Grams Performance
H&R
HKS
HP Tuners
Hawk Performance
Hotchkis
Industrial Injection
Injen
Invidia
JBA
K&N
K1 Technologies
King Engine Bearings
Konig
Kooks Headers
KraftWerks
KYB
LIQUI MOLY
Mahle
Mahle OE
Manley Performance
Magnaflow
McLeod Racing
Mechanix Wear
Method Wheels
Mishimoto
Moroso
NGK
Nitrous Express
NRG
Ohlins
Pedal Commander
Pirelli
PowerStop
Perrin Performance
Project Mu
Putco
Racequip
Raceseng
Radium Engineering
Rays
Rally Armor
Rywire
Seibon
Skunk2 Racing
SLP
South Bend Clutch
SPAL
SPARCO
SPEC
Spectre
SPL Parts
SPYDER
SSR
Stoptech
Superlift
Tein
Toyo
Turbo XS
Vorsteiner
Vibrant
Wiseco
ZEX
fifteen52
mountune
ECUMaster
BC Racing
Deatschwerks
Apparel
Account
Site navigation
MotionAutoPerformance
Search
Search
Cart
Menu
Site navigation
Home
Parts
All Categories
Suspension
Coilovers
Lift Kits
Suspension Packages
Shocks and Struts
Control Arms
Ball Joints
Bushing Kits
Sway Bars
Fuel
Fuel Systems
Flex Fuel Kit
Fuel Pumps
Fuel Rails
Fuel Lines
Fuel Filters
Fuel Injector Sets - 4Cyl
Fuel Injector Sets - 6Cyl
Fuel Injector Sets - 8Cyl
Fuel Tanks
Surge Tanks
Engine
Piston Sets - Forged - 4cyl
Piston Sets - Forged - 6cyl
Piston Sets - Forged - 8cyl
Connecting Rods
Air Intake Systems
Intake Manifolds
Camshafts
Camshaft & Lifter Kits
Valves
Valve Springs, Retainers
Headers & Manifolds
Crankshafts
Drivetrain
Axles
Clutch Kits - Single
Clutch Kits - Multi
Driveshafts
Torque Converters
Transmission Rebuild Kits
Exhaust
Exhaust, Mufflers & Tips
Axle Back
Catback
Powersports Exhausts
Exhaust Gaskets
Brakes
Brakes, Rotors & Pads
Big Brake Kits
Brake Line Kits
Cooling
Radiators
Fans & Shrouds
Coolant
Coolant Reservoirs
Transmission Coolers
Fabrication
Aluminum Tubing
X Pipes
Forced Induction
Turbo Kits
Turbochargers
Supercharger Kits
Blow Off Valves
Wastegates
Nitrous Systems
Lighting
Headlights
Tail Lights
Light Bars & Pods
Tailgate Lights
Diesel
Connecting Rods - Diesel
Piston Sets - Diesel
Fuel Injectors - Diesel
Fluids
Motor Oil
Oil Filters
Coolants
Power Steering Fluids
Gear Oil
Brake Fluid
Wheels
Forged
Cast
Wheel Spacers & Adapters
Wheel and Tire Accessories
Wiring
Wiring Harnesses
Wiring Connectors
Light Accessories and Wiring
Body
Body Armor & Protection
Bumpers
Door Panels
Spoilers
Mirrors
Carbon Accessories
Brands
ACL
ACT
AEM
AEM Induction
Aeromotive
Agency Power
Airaid
Akrapovic
AMS
ANZO
ARP
ATI
ATP
Auto-Tech Interiors
AutoMeter
AVO
AWE Tuning
BBK
BBS
BD Diesel
Bilstein
BLOX Racing
BorgWarner
Borla
Bosch
Brian Crower
COMP Cams
CORSA Performance
Cosmis
CP Pistons
CSF
Cusco
DBA
Defi
DEI
Diamond Eye Performance
Driveshaft Shop
Eagle
EBC
Edelbrock
Eibach
Energy Suspension
Enkei
Exedy
Exergy
FAST
FOX
Fidanza
Fleece Performance
Fluidampr
Ferrea
Ford Racing
G-Sport
Garrett
Gates
Gibson
Go Fast Bits
GReddy
GSC Power Division
Grams Performance
H&R
HKS
HP Tuners
Hawk Performance
Hotchkis
Industrial Injection
Injen
Invidia
JBA
K&N
K1 Technologies
King Engine Bearings
Konig
Kooks Headers
KraftWerks
KYB
LIQUI MOLY
Mahle
Mahle OE
Manley Performance
Magnaflow
McLeod Racing
Mechanix Wear
Method Wheels
Mishimoto
Moroso
NGK
Nitrous Express
NRG
Ohlins
Pedal Commander
Pirelli
PowerStop
Perrin Performance
Project Mu
Putco
Racequip
Raceseng
Radium Engineering
Rays
Rally Armor
Rywire
Seibon
Skunk2 Racing
SLP
South Bend Clutch
SPAL
SPARCO
SPEC
Spectre
SPL Parts
SPYDER
SSR
Stoptech
Superlift
Tein
Toyo
Turbo XS
Vorsteiner
Vibrant
Wiseco
ZEX
fifteen52
mountune
ECUMaster
BC Racing
Deatschwerks
Apparel
Account
Item added to cart.
View cart and check out
.
Close
Close
If the year, make, model search doesn't pull results for your vehicle please use the regular search bar or browse by category. We have over 200K+ parts!
Close
Year
Select Year
Make
Select Make
Model
Select Model
Search
×
clear filters
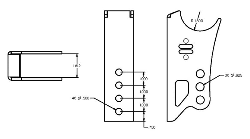
Ridetech Weld On Rear Axle Bracket for Bolt-On 4 Link
Sale
Regular price
$54.99
Default Title - $54.99 USD
Quantity
Add to Cart
Ridetech Weld On Rear Axle Bracket for Bolt-On 4 Link
Share
Share on Facebook
Tweet on Twitter
Pin on Pinterest
Year
Select Year
Make
Select Make
Model
Select Model
Search
×
clear filters
Back to Fabrication
"Close (esc)"